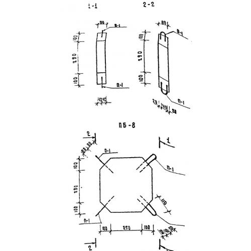
ПБ 8

Чертеж изделия:
Характеристики изделия:
ПараметрЗначение
длина490 мм
ширина490 мм
высота80 мм
вес42 кг
серияТП 320-55

ПБ 8 Укрепления откосов сплошные. Малые архитектурные формы и элементы благоустройства улиц, дорог, площадей по серии ТП 320-55.