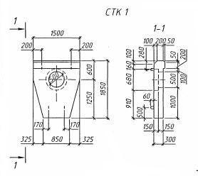
СТК 1
Характеристики изделия:
| Параметр | Значение |
|---|---|
| длина | 1850 мм |
| ширина | 1500 мм |
| высота | 300 мм |
| масса | 1600 кг |
| нормативный документ | Шифр 1484 |
Цена:
Рассчитать стоимостьСТК 1 Стенки портальные по Шифру 1484.
| Параметр | Значение |
|---|---|
| длина | 1850 мм |
| ширина | 1500 мм |
| высота | 300 мм |
| масса | 1600 кг |
| нормативный документ | Шифр 1484 |
СТК 1 Стенки портальные по Шифру 1484.