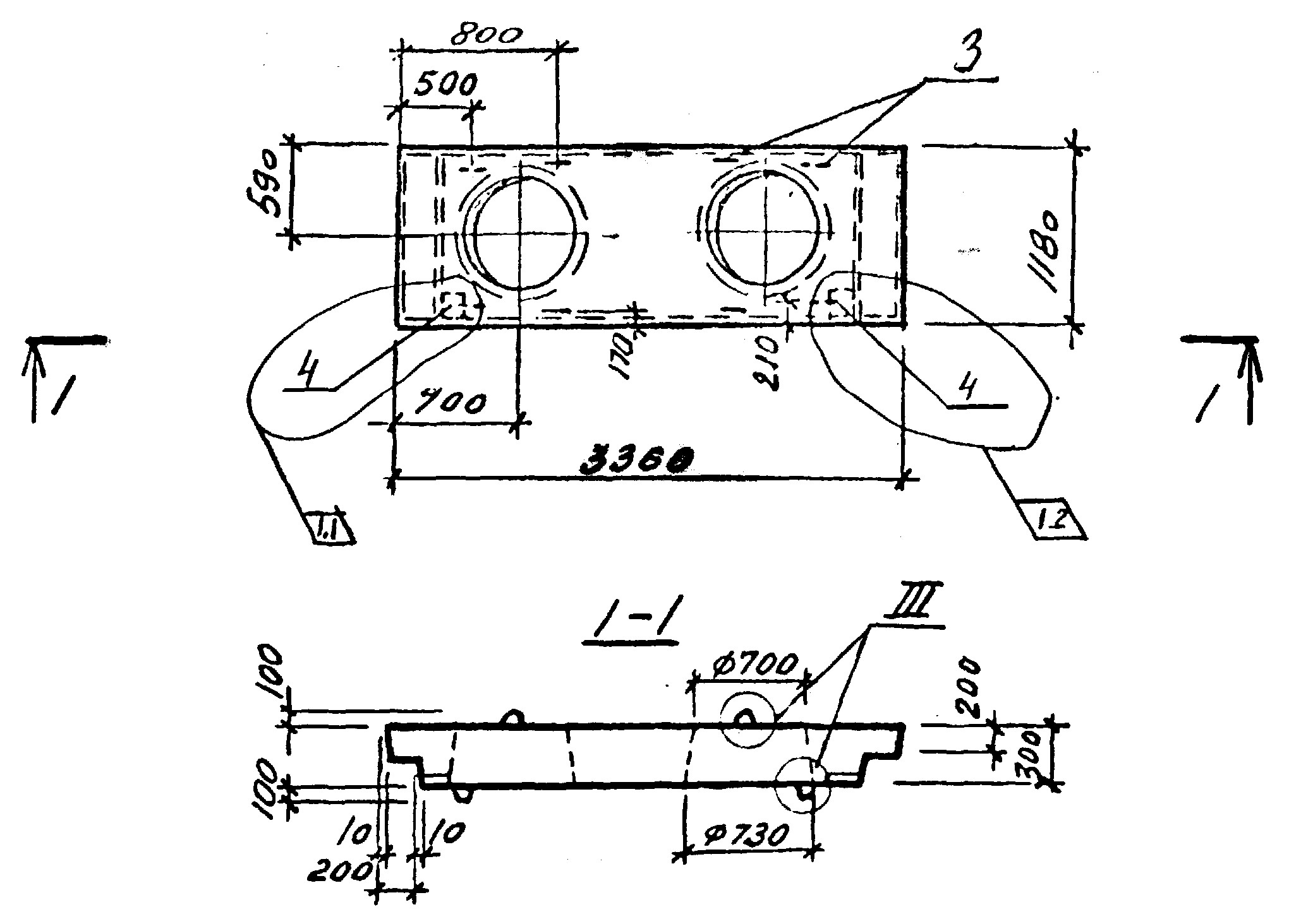
П 2А

Чертеж изделия:
Характеристики изделия:
ПараметрЗначение
Длина L3360 мм
Ширина В1180 мм
Высота Н300 мм
Вес2250 кг
СерияВТИ-КЖ-01-83
Норма погрузки на машину (20тн)9 шт
Вагонная норма погрузки-

Плита перекрытия П 2А является составной частью теплофикационной камеры. Данные плиты изготавливаются в соответствии с рабочими чертежами серии ВТИ-КЖ-01-83.