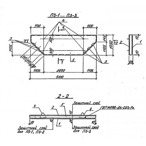
П 3
Характеристики изделия:
| Параметр | Значение |
|---|---|
| длина | 5100 мм |
| ширина | 1550 мм |
| высота | 120 мм |
| масса | 2000 кг |
| нормативный документ | Серия У 01-02/89 |
Цена:
Рассчитать стоимостьП 3 Плиты по Серии У 01-02/89.
| Параметр | Значение |
|---|---|
| длина | 5100 мм |
| ширина | 1550 мм |
| высота | 120 мм |
| масса | 2000 кг |
| нормативный документ | Серия У 01-02/89 |
П 3 Плиты по Серии У 01-02/89.
