ПСД
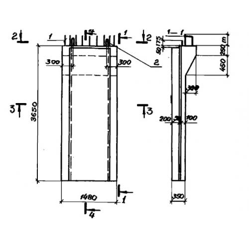
Характеристики изделия:
| Параметр | Значение |
|---|---|
| длина | 1480 мм |
| ширина | 650 мм |
| высота | 3650 мм |
| вес | 4250 кг |
| серия | У 01-01/80 |
Цена:
Рассчитать стоимостьПСД Плиты стеновые доборные по серии У 01-01/80.
| Параметр | Значение |
|---|---|
| длина | 1480 мм |
| ширина | 650 мм |
| высота | 3650 мм |
| вес | 4250 кг |
| серия | У 01-01/80 |
ПСД Плиты стеновые доборные по серии У 01-01/80.
