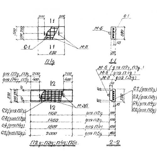
П 5 д плиты перекрытия

Чертеж изделия:
Характеристики изделия:
ПараметрЗначение
длина590 мм
ширина2000 мм
высота160 мм
масса575 кг
нормативный документСерия ИС 01-04

П 5 д  Плиты перекрытия доборные по Серии ИС 01-04.