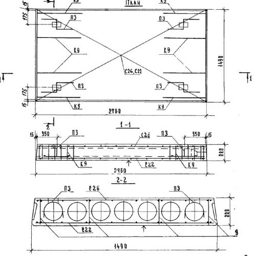
ПК 28.15 панель многопустотная

Чертеж изделия:
Характеристики изделия:
ПараметрЗначение
длина2760 мм
ширина1490 мм
высота220 мм
масса1320 кг
нормативный документСерия ИИ 04-4

ПК 28.15 Плиты (панели) многопустотные по Серии ИИ 04-4.