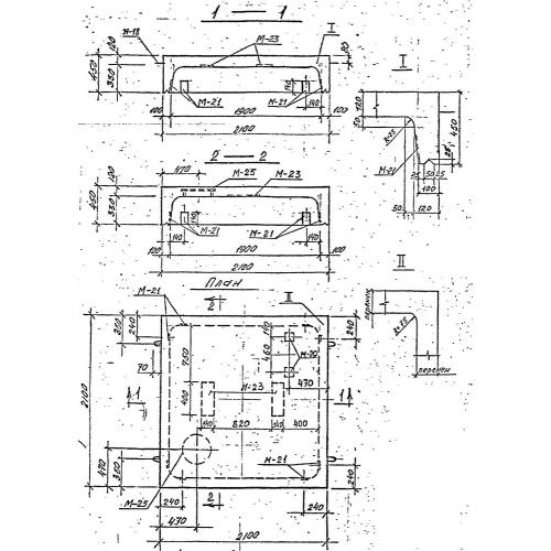
НБК-1.8

Чертеж изделия:
Характеристики изделия:
ПараметрЗначение
длина2100 мм
ширина2100 мм
высота450 мм
масса2100 кг
нормативный документСерия 3.903 КЛ-13

НБК-1.8 Нижние блоки камер по Серии 3.903 КЛ-13.