КГ 12
Характеристики изделия:
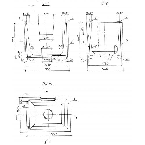
| Параметр | Значение |
|---|---|
| длина | 1500 мм |
| ширина | 1200 мм |
| высота | 1200 мм |
| вес | 1800 кг |
| серия | 3.820-9 |
Цена:
Рассчитать стоимостьКГ Колодцы-гасители по серии 3.820-9.
| Параметр | Значение |
|---|---|
| длина | 1500 мм |
| ширина | 1200 мм |
| высота | 1200 мм |
| вес | 1800 кг |
| серия | 3.820-9 |
КГ Колодцы-гасители по серии 3.820-9.
