ЖСТ

Чертеж изделия:
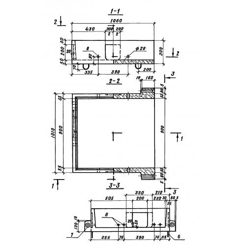
Характеристики изделия:
ПараметрЗначение
длина1060 мм
ширина1180 мм
высота300 мм
масса230 кг
нормативный документСерия 3.602.1-1

ЖСТ Желоба станционные  стыковые по Серии 3.602.1-1.