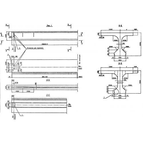
Б 1800.174.120 балка пролетного строения

Чертеж изделия:
Характеристики изделия:
ПараметрЗначение
длина18000 мм
ширина1740 мм
высота1200 мм
вес27300 кг
серия3.503.1-81

Б 1800.174.120  Балки пролетных строений по серии 3.503.1-81.