П-2
Характеристики изделия:
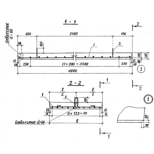
| Параметр | Значение |
|---|---|
| длина | 4000 мм |
| ширина | 1240 мм |
| высота | 150 мм |
| вес | 1800 кг |
| серия | 3.503.1-57 |
Цена:
Рассчитать стоимостьП-2 Блоки переходной плиты по серии 3.503.1-57.
| Параметр | Значение |
|---|---|
| длина | 4000 мм |
| ширина | 1240 мм |
| высота | 150 мм |
| вес | 1800 кг |
| серия | 3.503.1-57 |
П-2 Блоки переходной плиты по серии 3.503.1-57.
