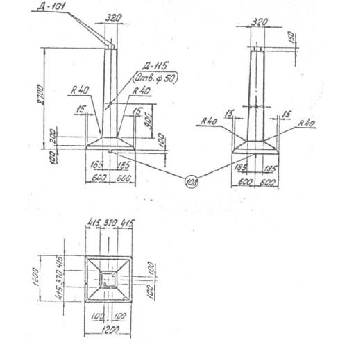
ФК 1 Грибовидные подножники

Чертеж изделия:
Характеристики изделия:
ПараметрЗначение
длина1200 мм
ширина1200 мм
высота2200 мм
масса1350 кг
нормативный документСерия 3.407.1-159

ФК 1 Фундаменты грибовидные подножники укороченные  по Серии 3.407.1-159.