ФМ 9

Чертеж изделия:
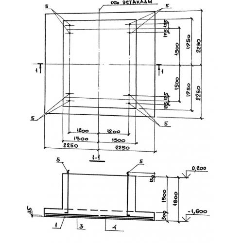
Характеристики изделия:
ПараметрЗначение
длина4500 мм
ширина4500 мм
высота1800 мм
вес59000 кг
серия3.015.2-15

ФМ 9 Монолитные фундаменты по серии 3.015.2-15.