ПТ 75.240.14 плиты лотков

Чертеж изделия:
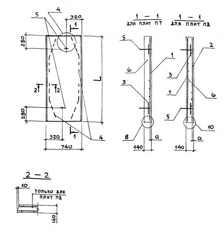
Характеристики изделия:
ПараметрЗначение
длина740 мм
ширина2380 мм
высота140 мм
масса630 мм
нормативный документСерия 3.006.1-8

ПТ 75.240.14  Плиты перекрытий каналов Серия 3.006.1-8.