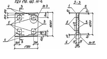
ПДУ 170.180.14 плиты днища

Чертеж изделия:
Характеристики изделия:
ПараметрЗначение
длина1650 мм
ширина1780 мм
высота140 мм
масса1030 кг
нормативный документСерия 3.006.1-8

ПДУ 170.180.14  Плиты днища каналов угловые Серия 3.006.1-8.