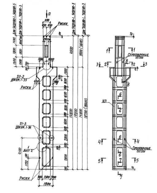
КДП 180 колонны средние

Чертеж изделия:
Характеристики изделия:
ПараметрЗначение
длина18600 мм
ширина500 мм
высота1900 мм
масса22800 кг
нормативный документСерия 1.424.1-10

КДП 180  Двухветвевые колонны с проходом (средние) Серия 1.424.1-10.