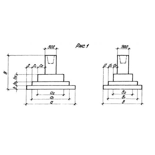
ФА 14

Чертеж изделия:
Характеристики изделия:
ПараметрЗначение
длина4800 мм
ширина3600 мм
высота2400 мм
вес27250 кг
серия1.412-3/79

ФА 14 Фундамент рядовой с подколонником типа "А" по серии 1.412-3/79.