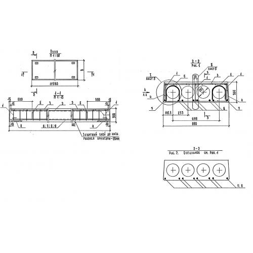
ПК 120-10 панели предварительно напряженные
Характеристики изделия:
| Параметр | Значение |
|---|---|
| длина | 11980 мм |
| ширина | 990 мм |
| высота | 300 мм |
| масса | 4900 кг |
| нормативный документ | Серия 1.241-1 |
Цена:
Рассчитать стоимостьПК 120.10 Плиты перекрытия многопустотные Серия 1.241-1.
