ПК 63.12 Плиты перекрытия железобетонные многопустотные

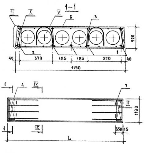
Чертеж изделия:
Характеристики изделия:
ПараметрЗначение
длина6280 мм
ширина1190 мм
высота220 мм
масса2200 кг
нормативный документСерия 1.141-1

ПК 63.12  Плиты перекрытия железобетонные многопустотные Серия 1.141-1.