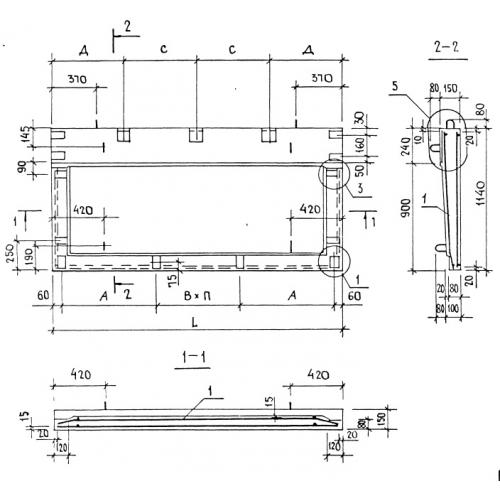
ПБ 36-4

Чертеж изделия:
Характеристики изделия:
ПараметрЗначение
длина3590 мм
ширина1140 мм
высота150 мм
масса1169 кг
нормативный дкументСерия 1.137-3

ПБ 36-4  Плиты балконные Серия 1.137-3.