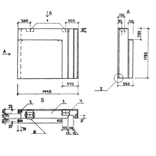
7БНУ 14.12.35

Чертеж изделия:
Характеристики изделия:
ПараметрЗначение
длина1440 мм
ширина350 мм
высота1180 мм
вес780 кг
серия1.133.1-7

7БНУ Блоки угловые цокольные по серии 1.133.1-7.