Б 35

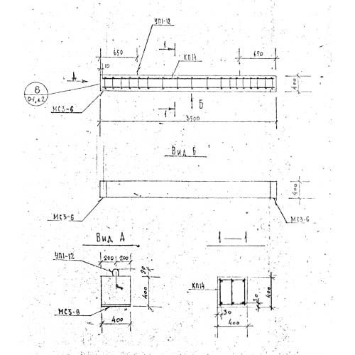
Чертеж изделия:
Характеристики изделия:
ПараметрЗначение
длина3500 мм
ширина400 мм
высота400 мм
вес1400 кг
серия1.125 КЛ-3

Б 35 Балки по серии 1.125 КЛ-3.