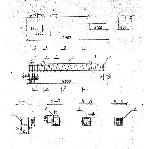
С 13-40

Чертеж изделия:
Характеристики изделия:
ПараметрЗначение
длина12900 мм
ширина400 мм
высота400 мм
вес5160 кг
серия1.111.1 КЛ-5

С 13-40 Сваи забивные сплошного квадратного сечения по серии 1.111.1 КЛ-5.