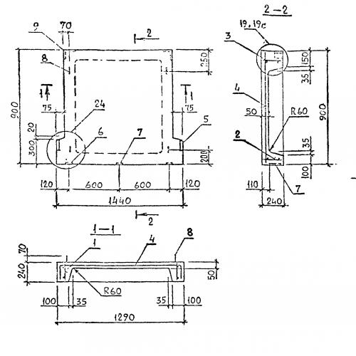
ЛПП 14.9

Чертеж изделия:
Характеристики изделия:
ПараметрЗначение
длина1440 мм
ширина900 мм
высота240 мм
вес400 кг
серия1.050.9-4.93

ЛПП 14.9 Лестничные площадки и полуплощадки ребристые по серии 1.050.9-4.93.