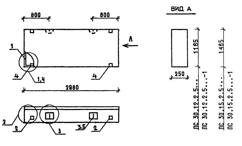
ПС 30.15.2.5 панели стеновые

Чертеж изделия:
Характеристики изделия:
ПараметрЗначение
длина2980 мм
ширина250 мм
высота1485 мм
масса1620 кг
нормативный документСерия 1.030.1-1/88

ПС 30.15.2.5  Панели стеновые Серия 1.030.1-1/88.