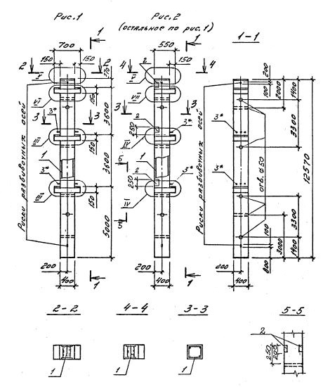
3КБД 36.48

Чертеж изделия:
Характеристики изделия:
ПараметрЗначение
длина12570 мм
ширина400 мм
высота700 мм
масса5150 кг
нормативный документСерия 1.020.1-4

3КБД 36.48     Колонны  бесстыковые двухконсольные (Серия 1.020.1-4).

Маркировка включает высоту этажей (дм), диаметры угловых и промежуточных стержней арматуры (мм), марку бетона:

3КБД 36.48-3.20.00

3КБД 36.48-3.22.00

3КБД 36.48-3.28.00

3КБД 36.48-3.32.00

3КБД 36.48-4.32.00

3КБД 36.48-4.36.00