ПСЦ 56.390.35

Чертеж изделия:
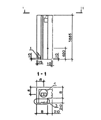
Характеристики изделия:
ПараметрЗначение
длина560 мм
ширина3885 мм
высота560 мм
масса1420 кг
нормативный документСерия 1.020.1-3пв

ПСЦ 56.390.35  Панели стеновые цокольные Серия 1.020.1-3пв.