1Р 6
Характеристики изделия:
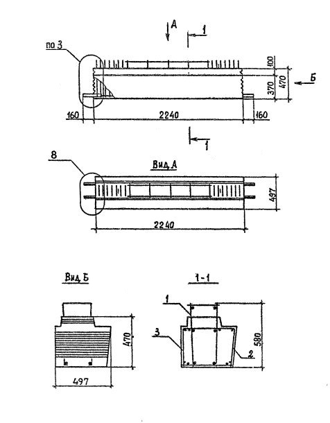
| Параметр | Значение |
|---|---|
| длина | 2560 мм |
| ширина | 497 мм |
| высота | 580 мм |
| масса | 1200 кг |
| нормативный документ | Серия 1.020.1-2с/89 |
Цена:
Рассчитать стоимость1Р6 Ригели для одностороннего опирания плит Серия 1.020.1-2с/89.
| Параметр | Значение |
|---|---|
| длина | 2560 мм |
| ширина | 497 мм |
| высота | 580 мм |
| масса | 1200 кг |
| нормативный документ | Серия 1.020.1-2с/89 |
1Р6 Ригели для одностороннего опирания плит Серия 1.020.1-2с/89.