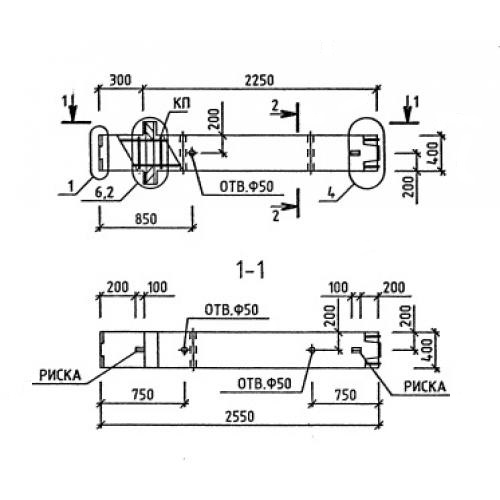
1КВ 33 колонны

Чертеж изделия:
Характеристики изделия:
ПараметрЗначение
длина2550 мм
ширина400 мм
высота400 мм
масса1030 кг
нормативный документСерия 1.020-1/87

1КВ 33  Колонны верхние Серия 1.020-1/87.