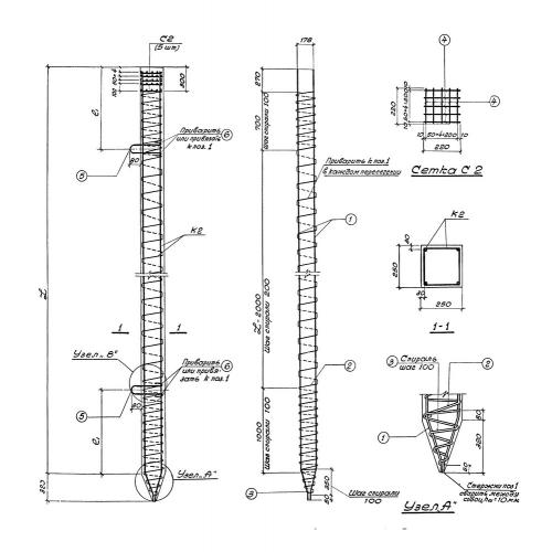
СУ 5-25
Характеристики изделия:
| Параметр | Значение |
|---|---|
| длина | 5000 мм |
| ширина | 250 мм |
| высота | 250 мм |
| масса | 800 кг |
| нормативный документ | Серия 1.011-1 |
Цена:
Рассчитать стоимостьСУ 5-25 Свая цельная сплошного квадратного сечения с ненапрягаемой арматурой, трещиностойкая (Серия 1.011-1).
