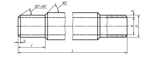
ВТ 6

Чертеж изделия:
Характеристики изделия:
ПараметрЗначение
длина5000 мм
ширина528 мм
высота528 мм
масса508 кг
нормативный документГОСТ 31416-2009

ВТ 6   Асбоцементные напорные трубы ГОСТ 31416-2009.