1ППШ 12-30

Чертеж изделия:
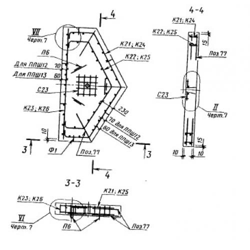
Характеристики изделия:
ПараметрЗначение
длина2010 мм
ширина1155 мм
высота180 мм
масса780 кг
нормативный документГОСТ 21924.1(2)-84

ППШ 12   Плиты дорожные шестиугольные осевые поперечные ГОСТ 21924.1(2)-84.